|
ความดัน/เมกะปาสคาล |
อุณหภูมิ / องศาเซลเซียส |
ความเร็ว /เมตร/วินาที |
ปานกลาง |
|
≤40 |
-35~+100 (พร้อมโอริง NBR ที่เข้ากัน) |
≤2 |
น้ำมันไฮดรอลิก อิมัลชัน น้ำ แก๊ส ฯลฯ |
-20~+200 (พร้อมโอริง FKM ที่ตรงกัน) |
1. วัสดุโอริงที่เหมาะสมได้แก่: R01 ยางไนไตรล์บิวทาไดอีน (NBR), R02 ฟลูออโรรับเบอร์ (FKM) เป็นต้น
2. วัสดุแหวนปิดผนึก: วัสดุมาตรฐาน PTFE3 และ PTFE4; วัสดุเสริมอื่นๆ ได้แก่ PTFE1, PTFE2 และ PTFE5
Ruichen ได้ทำการวิจัยและพัฒนาและการผลิตที่เป็นอิสระตั้งแต่เริ่มต้นวัตถุดิบโดยตระหนักถึงการควบคุมห่วงโซ่ผลิตภัณฑ์ทั้งหมด
1. พลาสติกวิศวกรรมและวัสดุคอมโพสิต: เราใช้โพลีเตตระฟลูออโรเอทิลีน (PTFE) เป็นแกนหลัก ตั้งแต่การผสม การเผาผนึก ไปจนถึงการขึ้นรูป การผลิตหลอดและแกนวัสดุคอมโพสิตดัดแปลงที่เติมเองทุกชนิด จากนั้นจึงแปรรูปเป็นซีลอย่างแม่นยำ สิ่งนี้ทำให้มั่นใจได้ถึงความเสถียรและความสามารถในการปรับแต่งคุณสมบัติของวัสดุ
2. โพลียูรีเทน อีลาสโตเมอร์ประสิทธิภาพสูง: เราเริ่มต้นจากการหล่อพรีโพลีเมอร์ โดยผลิตท่อและแกนโพลียูรีเทนคุณภาพสูงอย่างอิสระ และแปรรูปเป็นซีลประเภทต่างๆ ซึ่งมีความโดดเด่นในด้านความต้านทานการสึกหรอ ความต้านทานแรงดัน และการต้านทานไฮโดรไลซิส
ตัวอย่างการสั่งซื้อ
การสั่งซื้อรุ่น RC2054—80×69×4.2—PTFE3—R01 รุ่น-D*d*L- รหัสวัสดุ การสั่งซื้อรุ่น RCX18—80×69x4.2—HPU รุ่น-D*d*L- รหัสวัสดุ
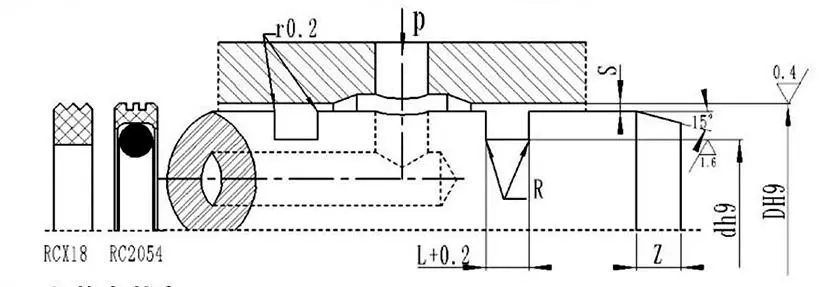
ตารางข้อมูลจำเพาะและพารามิเตอร์ (มีข้อกำหนดใด ๆ ภายในช่วงพารามิเตอร์)
|
ช่วงรูรับแสง DH9 |
เส้นผ่านศูนย์กลางของร่องลึกก้นสมุทร dh9 |
ความกว้างของร่องลึก L+0.2 |
การกวาดล้างรัศมี Smax |
มุมโค้งมน อาร์แม็กซ์ |
แชมเฟอร์ ซมิน |
|
|
0~10เมกะปาสคาล |
10~20เมกะปาสคาล |
|||||
|
8~39 |
D-4.9 |
2.2 |
0.15 |
0.1 |
0.4 |
2 |
|
40~79 |
D-7.5 |
3.2 |
0.2 |
0.15 |
0.6 |
3 |
|
80~132 |
D-11.0 |
4.2 |
0.25 |
0.2 |
1.0 |
4 |
|
133~329 |
D-15.5 |
6.3 |
0.3 |
0.25 |
1.3 |
5 |
|
330~669 |
D-21.0 |
8.1 |
0.3 |
0.25 |
1.8 |
7 |
|
670~1500 |
D-28.0 |
9.5 |
0.45 |
0.3 |
2.0 |
8 |
|
D |
d |
L |
D |
d |
L |
D |
d |
L |
D |
d |
L |
|
8 |
3.1 |
2.2 |
50 |
42.5 |
3.2 |
170 |
154.5 |
6.3 |
380 |
359.0 |
8.1 |
|
10 |
5.1 |
2.2 |
55 |
47.5 |
3.2 |
180 |
164.5 |
6.3 |
390 |
369.0 |
8.1 |
|
12 |
7.1 |
2.2 |
60 |
52.5 |
3.2 |
190 |
174.5 |
6.3 |
400 |
379.0 |
8.1 |
|
14 |
9.1 |
2.2 |
63 |
55.5 |
3.2 |
200 |
184.5 |
6.3 |
420 |
399.0 |
8.1 |
|
15 |
10.1 |
2.2 |
65 |
57.5 |
3.2 |
210 |
194.5 |
6.3 |
450 |
429.0 |
8.1 |
|
16 |
11.1 |
2.2 |
70 |
62.5 |
3.2 |
220 |
204.5 |
6.3 |
480 |
459.0 |
8.1 |
|
18 |
13.1 |
2.2 |
75 |
67.5 |
3.2 |
230 |
214.5 |
6.3 |
500 |
479.0 |
8.1 |
|
20 |
15.1 |
2.2 |
80 |
69.0 |
4.2 |
240 |
224.5 |
6.3 |
520 |
499.0 |
8.1 |
|
22 |
17.1 |
2.2 |
85 |
74.0 |
4.2 |
250 |
234.5 |
6.3 |
550 |
529.0 |
8.1 |
|
24 |
19.1 |
2.2 |
90 |
79.0 |
4.2 |
260 |
244.5 |
6.3 |
600 |
579.0 |
8.1 |
|
25 |
20.1 |
2.2 |
95 |
84.0 |
4.2 |
270 |
254.5 |
6.3 |
630 |
609.0 |
8.1 |
|
28 |
23.1 |
2.2 |
100 |
89.0 |
4.2 |
280 |
264.5 |
6.3 |
650 |
629.0 |
8.1 |
|
30 |
25.1 |
2.2 |
105 |
94.0 |
4.2 |
290 |
274.5 |
6.3 |
670 |
642.0 |
9.5 |
|
32 |
27.1 |
2.2 |
110 |
99.0 |
4.2 |
300 |
284.5 |
6.3 |
700 |
672.0 |
9.5 |
|
35 |
30.1 |
2.2 |
115 |
104.0 |
4.2 |
310 |
294.5 |
6.3 |
750 |
722.0 |
9.5 |
|
36 |
31.1 |
2.2 |
120 |
109.0 |
4.2 |
320 |
304.5 |
6.3 |
800 |
772.0 |
9.5 |
|
38 |
33.1 |
2.2 |
125 |
114.0 |
4.2 |
330 |
309.0 |
8.1 |
1000 |
972.0 |
9.5 |
|
40 |
32.5 |
3.2 |
130 |
119.0 |
4.2 |
340 |
319.0 |
8.1 |
|
|
|
|
42 |
34.5 |
3.2 |
140 |
124.5 |
6.3 |
350 |
329.0 |
8.1 |
|
|
|
|
45 |
37.5 |
3.2 |
150 |
134.5 |
6.3 |
360 |
339.0 |
8.1 |
|
|
|
|
48 |
40.5 |
3.2 |
160 |
144.5 |
6.3 |
370 |
349.0 |
8.1 |
|
|
|
หมายเหตุ: ข้อมูลจำเพาะที่จำเป็นไม่ได้ระบุไว้ที่นี่ โปรดติดต่อบริษัทของเรา เรานำเสนอผลิตภัณฑ์ที่มีเส้นผ่านศูนย์กลางสูงสุด 2800 มม.



ที่อยู่
No.1 Ruichen Road, สวนอุตสาหกรรม Dongliuting, เขตเฉิงหยาง, เมืองชิงเต่า, มณฑลซานตง, จีน
โทร