|
ความดัน/เมกะปาสคาล |
อุณหภูมิ / องศาเซลเซียส |
ความเร็ว /เมตร/วินาที |
ปานกลาง |
|
≤40 |
-35~+100 (พร้อมโอริง NBR) |
≤2 |
น้ำมันไฮดรอลิก อิมัลชัน น้ำ แก๊ส ฯลฯ |
|
-20~+200 (พร้อมโอริง FKM) |
1. วัสดุโอริงที่มีจำหน่าย: R01 ยางไนไตรล์บิวทาไดอีน (NBR), R02 ฟลูออโรรับเบอร์ (FKM) ฯลฯ
2. วัสดุแหวนปิดผนึก: วัสดุมาตรฐาน PTFE3 และ PTFE4; วัสดุเสริมอื่นๆ ได้แก่ PTFE1, PTFE2 และ PTFE5
ตัวอย่างการสั่งซื้อ
การสั่งซื้อ รุ่น RC2052—80x91×4.2—PTFE3—R01 รุ่น-dxDxL- รหัสวัสดุ
การสั่งซื้อรุ่น RCX17—80x91×4.2—HPU รุ่น-dxDxL- รหัสวัสดุ
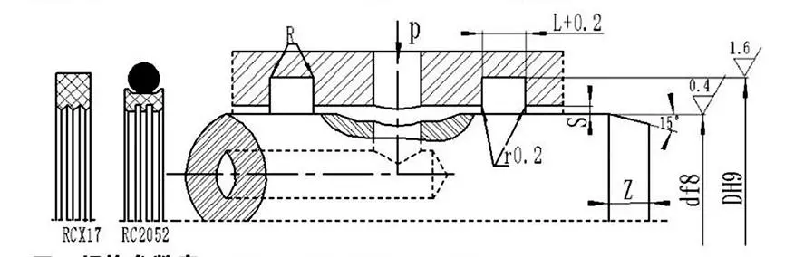
ตารางข้อมูลจำเพาะและพารามิเตอร์ (มีข้อกำหนดใด ๆ ภายในช่วงพารามิเตอร์)
|
ช่วงเส้นผ่านศูนย์กลางเพลา วัน f8 |
เส้นผ่านศูนย์กลางของร่องลึกก้นสมุทร DH9 |
ความกว้างของร่องลึก L+⁰.2 |
การกวาดล้างรัศมี Smax |
มุมโค้งมน อาร์แม็กซ์ |
แชมเฟอร์ ซมิน |
|
|
0~10เมกะปาสคาล |
10~20เมกะปาสคาล |
|||||
|
6~18 |
ด+49 |
2.2 |
0.15 |
0.1 |
0.4 |
2 |
|
19~37 |
ดี+7.5 |
3.2 |
0.2 |
0.15 |
0.6 |
3 |
|
38~199 |
ดี+11.0 |
4.2 |
0.25 |
0.2 |
1.0 |
4 |
|
200~255 |
ดี+15.5 |
6.3 |
0.3 |
0.25 |
1.3 |
5 |
|
256~649 |
ดี+21.0 |
8.1 |
0.3 |
0.25 |
1.8 |
7 |
|
650~1500 |
ดี+28.0 |
9.5 |
0.45 |
0.3 |
2.0 |
8 |
หมายเหตุ: สำหรับเส้นผ่านศูนย์กลางเพลา ≤ 30 มม. แนะนำให้ใช้ร่องแบบเปิด
|
d |
D |
L |
d |
D |
L |
d |
D |
L |
d |
D |
L |
|
8 |
12.9 |
2.2 |
48 |
59.0 |
4.2 |
150 |
161.0 |
4.2 |
350 |
371.0 |
8.1 |
|
10 |
14.9 |
2.2 |
50 |
61.0 |
4.2 |
160 |
171.0 |
4.2 |
360 |
381.0 |
8.1 |
|
12 |
16.9 |
2.2 |
55 |
66.0 |
4.2 |
170 |
181.0 |
4.2 |
370 |
391.0 |
8.1 |
|
14 |
18.9 |
2.2 |
60 |
71.0 |
4.2 |
180 |
191.0 |
4.2 |
380 |
401.0 |
8.1 |
|
15 |
19.9 |
2.2 |
63 |
74.0 |
4.2 |
190 |
201.0 |
4.2 |
390 |
411.0 |
8.1 |
|
16 |
20.9 |
2.2 |
65 |
76.0 |
4.2 |
200 |
215.5 |
6.3 |
400 |
421.0 |
8.1 |
|
18 |
22.9 |
2.2 |
70 |
81.0 |
4.2 |
210 |
225.5 |
6.3 |
420 |
441.0 |
8.1 |
|
20 |
27.5 |
3.2 |
75 |
86.0 |
4.2 |
220 |
235.5 |
6.3 |
450 |
471.0 |
8.1 |
|
22 |
29.5 |
3.2 |
80 |
91.0 |
4.2 |
230 |
245.5 |
6.3 |
480 |
501.0 |
8.1 |
|
24 |
31.5 |
3.2 |
85 |
96.0 |
4.2 |
240 |
255.5 |
6.3 |
500 |
521.0 |
8.1 |
|
25 |
32.5 |
3.2 |
90 |
101.0 |
4.2 |
250 |
265.5 |
6.3 |
520 |
541.0 |
8.1 |
|
28 |
35.5 |
3.2 |
95 |
106.0 |
4.2 |
260 |
281.0 |
8.1 |
550 |
571.0 |
8.1 |
|
30 |
37.5 |
3.2 |
100 |
111.0 |
4.2 |
270 |
291.0 |
8.1 |
600 |
621.0 |
8.1 |
|
32 |
39.5 |
3.2 |
105 |
116.0 |
4.2 |
280 |
301.0 |
8.1 |
630 |
651.0 |
8.1 |
|
35 |
42.5 |
3.2 |
110 |
121.0 |
4.2 |
290 |
311.0 |
8.1 |
650 |
678.0 |
8.1 |
|
36 |
43.5 |
3.2 |
115 |
126.0 |
4.2 |
300 |
321.0 |
8.1 |
670 |
698.0 |
9.5 |
|
38 |
49.0 |
4.2 |
120 |
131.0 |
4.2 |
310 |
331.0 |
8.1 |
700 |
728.0 |
9.5 |
|
40 |
51.0 |
4.2 |
125 |
136.0 |
4.2 |
320 |
341.0 |
8.1 |
750 |
778.0 |
9.5 |
|
42 |
53.0 |
4.2 |
130 |
141.0 |
4.2 |
330 |
351.0 |
8.1 |
800 |
828.0 |
9.5 |
|
45 |
56.0 |
4.2 |
140 |
151.0 |
4.2 |
340 |
361.0 |
8.1 |
1000 |
1028.0 |
9.5 |
หมายเหตุ: ข้อมูลจำเพาะที่จำเป็นไม่ได้ระบุไว้ที่นี่ โปรดติดต่อบริษัทของเรา เรานำเสนอผลิตภัณฑ์ที่มีเส้นผ่านศูนย์กลางสูงสุด 2800 มม.





คำแนะนำในการติดตั้งและใช้งานรอบด้าน
Rui Chen รู้ดีว่าการติดตั้งที่ถูกต้องเป็นข้อกำหนดเบื้องต้นแรกเพื่อให้แน่ใจว่าซีลทำงานเต็มประสิทธิภาพ นอกจากนี้เรายังให้คำแนะนำที่ครอบคลุมเกี่ยวกับการใช้ผลิตภัณฑ์แต่ละชิ้น โดยเฉพาะอย่างยิ่งชิ้นส่วนแบบกำหนดเองที่ซับซ้อนหรือไม่ได้มาตรฐาน โดยจะมีคู่มือการติดตั้งกราฟิกโดยละเอียด
คู่มือเหล่านี้มาพร้อมกับไดอะแกรมทีละขั้นตอนที่มีความละเอียดสูงและคำแนะนำแบบข้อความที่แสดงจุดการตรวจสอบก่อนการติดตั้ง ขั้นตอนการติดตั้งที่ถูกต้อง เครื่องมือที่จำเป็น และการดำเนินการที่ไม่ถูกต้องซึ่งต้องหลีกเลี่ยงอย่างชัดเจน ราวกับว่าวิศวกรของเราอยู่ที่ไซต์งาน นอกจากนี้ สำหรับการประกอบหรือระบบที่ซับซ้อน เรายังสร้างวิดีโอแนะนำการใช้งานแบบมืออาชีพที่ช่วยให้ผู้ปฏิบัติงานของคุณเชี่ยวชาญเทคนิคการติดตั้งและข้อควรระวังอย่างรวดเร็วผ่านการสาธิตแบบไดนามิก ซึ่งช่วยลดความเสี่ยงของความล้มเหลวตั้งแต่เนิ่นๆ ได้อย่างมากเนื่องจากการติดตั้งที่ไม่เหมาะสม
ที่อยู่
No.1 Ruichen Road, สวนอุตสาหกรรม Dongliuting, เขตเฉิงหยาง, เมืองชิงเต่า, มณฑลซานตง, จีน
โทร